采用軸配流鑲柱定轉子設計;
采用進口軸密封圈,具有高背壓承受能力
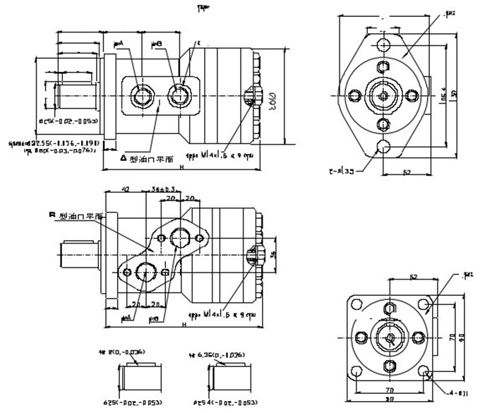
多種法蘭.輸出軸.油口等連接形式
體積小,結構緊湊
最大工作壓力指入口最大允許壓力,額定工作壓力指工作壓差;
不應同時在最大轉速和最大壓力下使用馬達,最大工作條件允許持續的時間為6秒
推薦用油: 抗磨液壓油,粘度37~73cst,油液清潔度ISO18/13, 最高工作油溫80°C
該系列馬達采用特殊的進口軸密封組件,馬達允許的最大背壓可達 10 MPa ,但為獲得良好的壽命及綜合機械性能,推薦使用背壓不要超過 5 MPa,超過時建議接外泄油管,接外泄管時,應保證馬達內總能充滿油,外泄管路應有一定的節流保持3.5bar以上的背壓,接外泄油管除可以保持較低的背壓外,還可以使馬達內產生的磨損污染帶走,并可產生一定的冷卻作用。
面向輸出軸端,當A口進油時順時針轉
Add:中國-濟寧-國家高新技術產業開發區山博路8號
Tel:400-086-1276
E-Mail:service#wolwa.cn(將#換成@)

官方微信二維碼
Copyright Right ? 2005 www.kangweier.com Powered By 沃爾華集團有限公司 魯ICP備10206551號